Склянки – стеклянные емкости различной формы и объема, служащие для самых разнообразных целей – от промывания и высушивания газов до хранения жидких и твердых, в том числе летучих, веществ. Например, в склянках с пришлифованным стеклянным колпаком можно хранить летучие кислоты, аммиак, ртуть, мышьяк и т.д.
Выпускаются склянки:
- со шлифованной узкой горловиной под притертую, силиконовую либо резиновую пробку,
- с широкой горловиной для притертой крышки,
- с пришлифованным стеклянным колпаком,
- с тубусом в нижней части и т.д.
Горловины и пробки, как правило, имеют стандартные размеры, что очень удобно в эксплуатации при износе или утере пробок. На нашем сайте вы можете заказать запасные стеклянные пробки для склянок.
Отличие склянки от банки состоит в том, что банка имеет широкую или очень широкую горловину с закручивающейся крышкой.
Склянки различаются по цвету – в зависимости от назначения производятся из темного и светлого стекла. Например, емкости их темного стекла используются для светочувствительных препаратов, которые могут на свету терять свои свойства и (или) разрушаться.
Стандартная склянка для хранения веществ имеет четкое соотношение между высотой и диаметром – ее высота в 1,4 раза больше диаметра.
Объем склянок, как правило, составляет от 5 мл до 20 л.
Изготавливаются из прочного термостойкого и химически стойкого стекла, устойчивого к большинству химических веществ.
Для очистки газов и в качестве предохранительных сосудов в вакуумных насосах применяют склянки специального назначения, такие как склянки:
- Дрекселя,
- Вульфа,
- Тищенко и другие.
Склянка Дрекселя используется для промывания газов и представляет собой стеклянный цилиндр со стеклянной пробкой, через которую пропущена трубка, доходящая до дна цилиндра. В верхней части емкости имеется отводная трубка. Для очистки газа в емкость наливают необходимый раствор (воду, серную кислоту и т.д.), затем поддают газ через трубку, доходящую до дна емкости. Промытый газ выходит из отводной трубки в верхней части склянки.
Склянки Вульфа имеют две или три горловины и также служат для очистки газов от примесей. Иногда имеют тубус в нижней части.
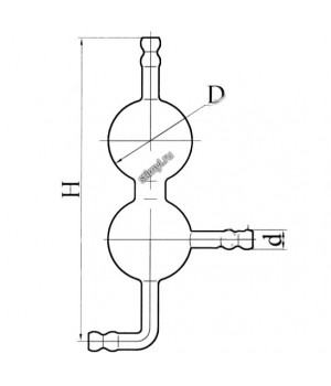
Склянки Тищенко внешне похожи на склянки Вульфа, но имеют внутри перегородку, разделяющую склянку на две части. Служат для промывания и высушивания газов, иногда применяются как предохранительные склянки в вакуум-насосах.
